Vise connectors are used for grounding splice or tap connection in telecom, utility, and residential applications.
BVC-2
6 sol – 2 sol
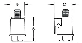
5/16”
9/16”
1.33
0.81
0.93
BVC-20
4 sol- 1/0 str
5/16”
9/16”
1.72
0.80
1.03
BVC-20S
3 sol – 2/0 str
3/8”
9/16”
1.91
0.94
1.19
BVC-2S
5 sol – 2 str
5/16”
9/16”
1.52
0.79
0.93
BVC-4
8 sol – 4 str
5/16”
9/16”
1.13
0.73
0.83
BVC-40
1/0 sol – 4/0 str
3/8”
9/16”
2.14
0.95
1.27
BVC-6
10 sol – 6 str
1/4”
3/8”
0.88
0.64
0.73
BVC-207
8 sol – 1/0 str
5/16”
9/16”
1.02
0.77
2.00
1/2”-13
BVC-2207 FT
8 sol – 1/0 str
5/16”
9/16”
1.02
0.77
1.50
1/2”-13
BVC-2070 IT
8 sol – 1/0 str
3/8”
9/16”
1.02
0.77
2.00
3/8”-16
BVC-207 ST
8 sol – 1/0 str
5/16”
9/16”
1.02
0.77
1.75
1/2”-13
BVC-167P
0.146” – 0.312”
0.146” – 0.312”
5/16”
9/16”
1.56
0.89
1.27